Apple patenteia sacola de papel
Invenção registrada pelo fabricante tem despertado curiosidade


A Apple sabe melhor que ninguém como é importante defender suas criações no escritório de patentes; é uma das marcas mais copiadas do planeta e que sustenta toda uma indústria de imitadores. Até hoje nos habituamos a contemplar o registro de patentes de todo tipo de produtos provenientes da empresa californiana; muitos chegam ao mercado, mas a grande maioria fica na gaveta, de uma forma ou de outra, sempre há eletrônica envolvida. Entretanto, soube-se nesta semana que a empresa de Tim Cook registrou a patente de uma sacola sem maiores ambições.
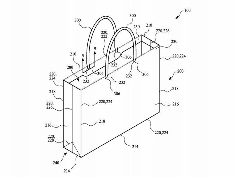
Sob o número de patente US 20160264304, a Apple registrou uma sacola parecida com as que as lojas entregam aos clientes após a compra. Não possuem nenhum componente eletrônico nem nada oculto que as torne especiais, mas tudo parece indicar que se trata da continuação de uma estratégia destinada a reduzir o impacto ambiental. No início do ano, a empresa deu um passo de gigante nessa direção anunciando que substituiria as sacolas de plástico de sua rede de lojas por sacolas de papel recicláveis.
A patente revela que a sacola é feita com 60% de materiais reciclados. Tudo foi pensado: o fundo é reforçado para poder suportar o peso dos produtos, e as alças confirmam a paixão da empresa pelo detalhe.
A sacola terá 60% de materiais recicláveis em sua composição e as alças terão o tato de “cadarços de sapato”
Em vez de alças convencionais, a Apple buscou materiais que proporcionassem um tato mais agradável e, ao mesmo tempo, fossem altamente recicláveis. Nesse sentido, optou-se por fibra de papel, material que oferece ao usuário a mesma sensação de tocar os cordões dos sapatos, segundo aponta o site The Next Web.
A empresa afirma que pretende deixar o menor rastro ambiental possível com sua atividade. No início do ano recordou que 93% da eletricidade consumida pela Apple em todo o mundo provinha de energias renováveis.
Tu suscripción se está usando en otro dispositivo
¿Quieres añadir otro usuario a tu suscripción?
Si continúas leyendo en este dispositivo, no se podrá leer en el otro.
FlechaTu suscripción se está usando en otro dispositivo y solo puedes acceder a EL PAÍS desde un dispositivo a la vez.
Si quieres compartir tu cuenta, cambia tu suscripción a la modalidad Premium, así podrás añadir otro usuario. Cada uno accederá con su propia cuenta de email, lo que os permitirá personalizar vuestra experiencia en EL PAÍS.
¿Tienes una suscripción de empresa? Accede aquí para contratar más cuentas.
En el caso de no saber quién está usando tu cuenta, te recomendamos cambiar tu contraseña aquí.
Si decides continuar compartiendo tu cuenta, este mensaje se mostrará en tu dispositivo y en el de la otra persona que está usando tu cuenta de forma indefinida, afectando a tu experiencia de lectura. Puedes consultar aquí los términos y condiciones de la suscripción digital.











































